19:20 - 06/10/2021
Lễ Pchum Ben - phép thử độ an toàn để Campuchia hướng tới mở cửa
Trong dịp nghỉ Lễ Pchum Ben từ 5-7/10, người dân Campuchia, trong đó phần lớn đã tiêm phòng COVID-19 đầy đủ, đã đi chùa và di chuyển đến các khu nghỉ dưỡng trên khắp đất nước.
Xem thêm19:20 - 06/10/2021
Thủ tướng Hàn Quốc kêu gọi cải thiện quan hệ với Nhật Bản
Trong thư chúc mừng gửi tới tân Thủ tướng Nhật Bản Fumio Kishida, Thủ tướng Hàn Quốc Kim Boo-kyum bày tỏ mong muốn tăng cường hợp tác giữa hai nước, hướng tới tương lai.
Xem thêm19:20 - 06/10/2021
Đại sứ quán Nga tại Mỹ kêu gọi Mỹ tiêu hủy vũ khí hóa học
Đại sứ quán Nga cho hay Mỹ tiếp tục là quốc gia duy nhất trên thế giới không tiêu hủy kho vũ khí hóa học khổng lồ, và kêu gọi Mỹ hoàn thành chương trình phi quân sự hóa trong thời gian sớm nhất.
Xem thêm19:19 - 06/10/2021
80% số người trưởng thành ở Australia được tiêm ít nhất 1 liều vaccine
Tính đến nay, 80,5% số người trên 16 tuổi ở nước này đã được tiêm ít nhất một mũi vaccine ngừa COVID-19 và 58,4% số người trong độ tuổi này đã được tiêm đầy đủ hai mũi.
Xem thêm19:19 - 06/10/2021
Moderna đề nghị Bộ Y tế Canada phê duyệt liều vaccine tăng cường
Moderna cho biết liều tiêm tăng cường sẽ chứa 50 microgam thành phần hoạt tính - một nửa so với hai liều ban đầu. Điều này phù hợp với yêu cầu tương tự mà Moderna đã trình lên cơ quan chức năng Mỹ.
Xem thêm19:19 - 06/10/2021
Australia đẩy mạnh kế hoạch đón sinh viên quốc tế quay lại học tập
Dự kiến có 120 sinh viên quốc tế đến bang Victoria, Australia mỗi tuần, trên các chuyến bay dịch vụ được tổ chức riêng và sẽ phải trải qua đợt cách ly 14 ngày, chi phí do các trường đại học chi trả.
Xem thêm19:19 - 06/10/2021
Trung Quốc: Công bố kế hoạch phát triển đặc khu hành chính Hong Kong
Trưởng Khu hành chính đặc biệt Hong Kong (Trung Quốc) cho biết Hong Kong sẽ xây dựng một vùng đô thị mới rộng 300km2 ở phía Bắc đặc khu này nhằm cung cấp 350.000 nhà ở cho người dân.
Xem thêm19:07 - 06/10/2021
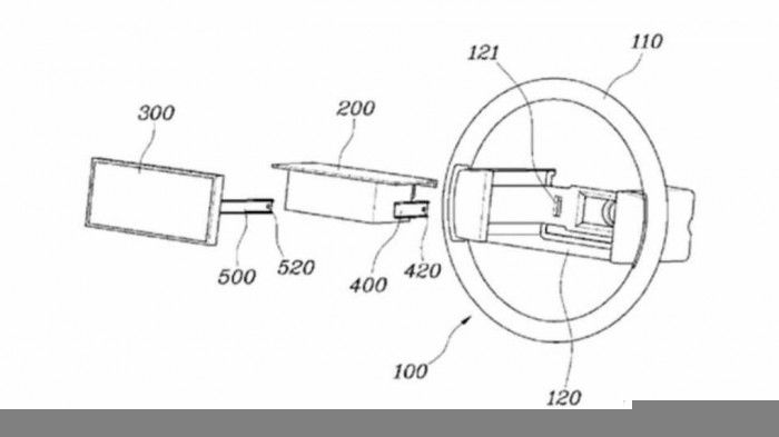
Hyundai nộp bằng sáng chế cho màn hình trên vô lăng
Hyundai vừa đăng ký bằng sáng chế cho loại màn hình được gắn trên vô lăng ô tô, cho phép loại bỏ cụm đồng hồ thông thường.
Xem thêm
0913376786
vietnam.highway@dailo.vn 